管束干燥机是我公司改进的一种新型、高效、节能的干燥设备,其各项技术经济指标在同类产品中达到国际水平。
工作原理
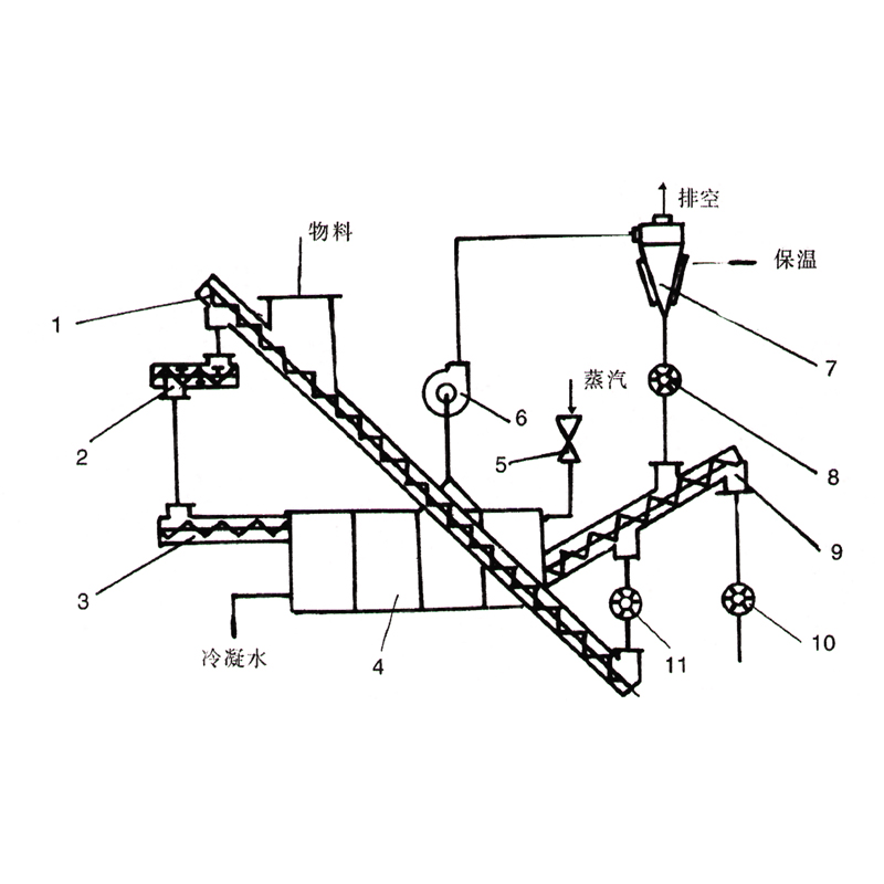
管束干燥机的设计采用了热传导和热辐射的原理,物料经供料螺旋进入干燥机内,在壳体内旋转管束外围铲子的搅拌作用下与换热管充分接触,使其水分得到蒸发,同时推进铲将物料由进料端输送到出料端。干燥一般采用逆流加热方式,根据需要也可采用顺流加热方式。
主要特点
1.管束干燥机能耗低,热效率高;
2.管束干燥机可调性好,适用范围广;
3.易于安装,操作简单,维修方便;
4.作业环境清洁,噪声小。
应用范围
管束干燥机广泛应用于轻工、化工、粮食、食品、饲料等行业,如酒槽、啤酒槽、化肥、玉米胚芽、玉米纤维、蛋白粉、菜籽饼、鸡粪等粉状、片状、纤维状无太大粘性的松散类物料的干燥。

工艺流程

混料螺旋 2.输送搅拌机 3. 供料螺旋 4. 干燥机 5.调节阀 6. 风机 7. 除尘器 8.关风机 9. 卸料螺旋 10. 关风机 11. 关风机
技术参数








